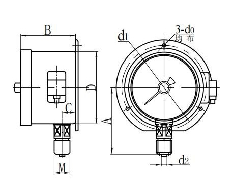
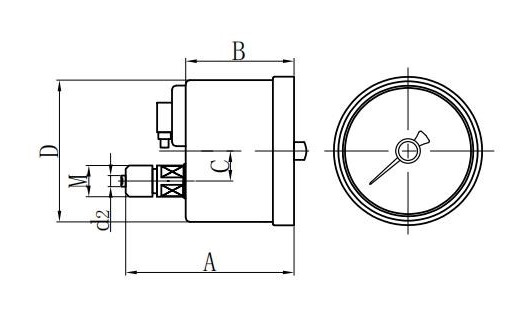
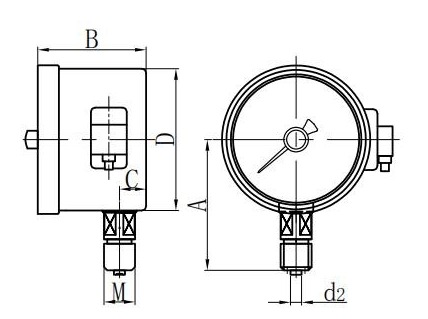
◆ Modell: YXD100 YXD150
◆ Bruker: Denne typen instrument er en erstatning for den elektriske kontakttrykkmåleren, den beholder fordelene med indikasjonen Nøyaktighet, utmerkede bytteegenskaper. Det er mye brukt i petroleum, kjemisk industri, metallurgi, kjernekraftsteknologi og hyppig bytteprosess.
Instrumentet er egnet for stabil og pålitelig måling og kontroll av trykket på væsker, gasser eller damper uten eksplosjonsfare, ikke-krystallisering, ikke-solidifisering og ikke-korrosiv effekt på kobber- og kobberlegeringer.
◆ Hvis det er nødvendig å lage en støtsikkert type trykkmåler, kan den fylles med glyserin eller silikonolje.





















